Оглавление
Больше всего в ноябре было новостей о смартфонах, но на фоне этого привычно мощного потока в последнее время обозначились новые, пока еще довольно скромные, но быстро набирающие силу. Один из них и откроет сегодняшнюю подборку.
Электротранспорт
В ноябре был представлен обновленный электромобиль Tesla Roadster, который разгоняется до 400 км/ч и имеет запас хода 1000 км. Представляя его, генеральный директор компании Илон Маск (Elon Musk) сказал, что это будет «самый быстрый серийный автомобиль». Отметим, что на данный момент самым быстрым автомобилем является Bugatti Chiron, который может разогнаться до 463 км/ч.
Обновленный четырехместный электромобиль Tesla Roadster оснащен тремя двигателями и аккумуляторной батареей емкостью 200 кВт∙ч. Стоимость базовой комплектации — 200 000 долларов. Разновидность Founder’s Series, которая будет выпущена тиражом 1000 штук, оценена в 250 000 долларов. Условием предварительного заказа является депозит в размере 50 000 долларов. Продажи должны начаться в 2020 году.
Возможно, новый электромобиль Tesla Roadster и станет самым быстрым серийным автомобилем, но по скорости разгона конкуренцию ему может составить электромобиль Xing Mobility Miss R, выпуск которого тоже был анонсирован в ноябре.
Новинка Tesla будет разгоняться до 100 км/ч за 1,9 с, а создатели Miss R заявляют для своей разработки время 1,8 с. Уточним, что Xing Mobility не планирует выпускать Miss R серийно. В будущем году должен быть готов первый экземпляр, а всего на 2018-2019 годы намечена постройка двух десятков машин стоимостью 1 млн долларов каждая.

Интересной особенностью Miss R является модульная конструкция аккумуляторной батареи, ускоряющая ее замену. Говоря точнее, замена будет занимать около пяти минут. По замыслу разработчиков, выпуск высокоскоростной модели позволит привлечь внимание к разработке, что будет способствовать выходу Xing Mobility на рынок в роли поставщика комплектующих для электромобилей.
Большой крутящий момент электродвигателей позволяет быстро разгоняться не только легковым электромобилям. Представленный одновременно с Tesla Roadster седельный тягач Tesla Semi сможет разгоняться до 96 км/ч за 5 с. Уточним, что так Tesla Semi разгоняется без прицепа. С прицепом максимальной массы, которая составляет 36 т, разгон грузовика до 100 км/ч занимает 20 с. По словам производителя, запас хода Tesla Semi составляет 800 км, а получасовой зарядки на станции Tesla Megacharger будет хватать на 640 км.

По оценке производителя, при скорости движения 60 км/ч Tesla Semi оказывается на 16,5% экономичнее дизельного грузовика, перевозящего такой же груз. Даже базовая версия Tesla Semi будет оснащаться системой автопилота. Производитель гарантирует пробег Tesla Semi не менее 1,6 млн км. В продажу грузовики поступят в 2019 году, а пока можно сделать предварительный заказ, подкрепив его депозитом в размере 5000 долларов.
В автомобильном транспорте промежуточным звеном между машинами, работающими исключительно на углеводородном топливе, и электромобилями, стали гибридные автомобили. Возможно ли распространение этого подхода на другие виды транспорта?
Компании Airbus, Rolls-Royce и Siemens уверены, что да. В конце месяца они сообщили, что намерены совместно создать прототип гибридного самолета с турбореактивными двигателями и электродвигателями.

Прототип, получивший название E-Fan X, будет создан на основе среднеразмерного реактивного самолета BAe 146, один из четырех двухконтурных турбореактивных двигателей которого планируется заменить электродвигателем мощностью 2 МВт. Первый полет E-Fan X запланирован на 2020 год. Если все пойдет успешно, будет заменен еще один двигатель.
Спектр применения электричества в качестве «топлива» очень широк, о чем свидетельствует другая ноябрьская новость, завершающая раздел. Ее героем стал электрический трактор Fendt e100 Vario, представленный в Германии.

Трактор, совместимый как с существующим оборудованием, так и с новым оборудованием на электрической тяге, оснащен электродвигателем мощностью 50 кВт (68 л.с.) и литиево-ионной аккумуляторной батареей емкостью 100 кВт·ч. Батарею можно заряжать от обычной розетки — медленно, но практически везде — или разъема IEC 62196 Type 2 (Mennekes). Во втором случае за 40 минут батарея успевает зарядиться на 80%. Особенно привлекательно электротрактор выглядит при наличии в хозяйстве электростанции, работающей на биогазе, солнечной или ветряной энергии. Опытную эксплуатацию в нескольких немецких сельхозпредприятиях тракторы Fendt e100 Vario должны пройти в следующем году, а в 2019 году они поступят в продажу.
Много новостей в ноябре было посвящено продукции компании Apple. Как обычно, эти новости то и дело оказывались самыми читаемыми новостями дня, и очень часто вызывали активное обсуждение.
Apple
Месяц открыла новость о том, что три модели компьютеров Apple объявлены устаревшими. Это обычная практика, поскольку с выходом новых компьютеров Apple ранее выпущенные модели неизбежно устаревают. Когда их дальнейший фирменный ремонт и замена лишаются смысла, производитель вычеркивает эти модели из списка изделий, на которые распространяется указанный сервис. На этот раз такая участь постигла модели Mac mini (была представлена в середине 2011 года), iMac с экраном размером 21,5 дюйма (конец 2009 года) и iMac с экраном размером 21,5 дюйма (тоже конец 2009 года).
Одновременно было прекращено дальнейшее продление гарантии на ноутбуки Apple MacBook Pro образца 2012 года с дисплеем Retina. Как известно, продление гарантии было связано с проблемами с антибликовым покрытием дисплея.

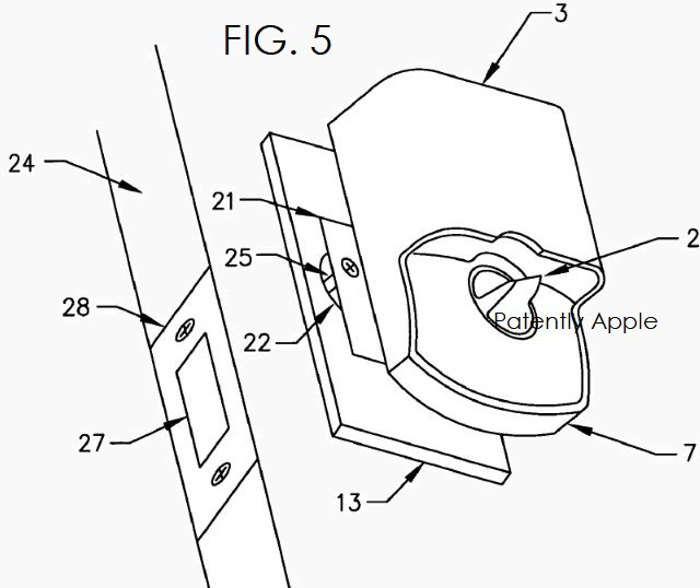
Частенько имя Apple в новостях соседствует со словом «суд». Были такие новости и в ноябре. Например, в одной из них рассказывалось о том, что иск против Apple подал изобретатель электронного замка с дистанционным управлением.
Изобретатель считает, что компания Apple нарушила патент №7373795, выданный ему американским патентным бюро в 2008 году. Примечательно, что владелец патента пытался получить одобрение Apple на включение приложения для своего замка под названием Remotizer в магазин Apple App Store. Приложение позволило бы управлять замками Remotizer, используя устройства Apple. Однако Apple не дала одобрения, а вскоре представила платформу HomeKit и начала продажи замков August Smart Lock, в которых, по мнению истца, и нарушены его права.

Вторая ноябрьская новость о судах и Apple называлась «Corephotonics утверждает, что Apple нарушила четыре её патента в смартфонах iPhone 7 Plus и iPhone 8 Plus».
Израильская компания Corephotonics занимается технологиями обработки изображений. Патенты, фигурирующие в иске, были получены в период с 2013 по 2016 года. Они касаются использования в смартфонах телеобъективов, оптического масштабирования и интеллектуального слияния изображений, полученных с двух камер. По словам истца, он предлагал Apple сотрудничество, но безуспешно. Более того, представитель Apple на переговорах якобы заявил, что «потребуются годы и миллионы долларов, прежде чем Apple придется заплатить».

В большинстве ноябрьских новостей, касающихся Apple, фигурировал смартфон iPhone X. Это неудивительно, поскольку продажи устройства начались 3 ноября. Аппарат сразу же попал в руки специалистов iFixit, которые разобрали устройство и оценили его ремонтопригодность.

К интересным находкам препараторы отнесли наличие двухсекционного аккумулятора. Непривычная конструкция позволила эффективнее занять пространство в корпусе. Емкость аккумулятора равна 10,35 Вт·ч.
Кроме того, обращает на себя внимание очень компактная печатная плата, площадь которой составляет всего 70% площади печатной платы смартфона iPhone 8 Plus. Секрет уменьшения площади прост — оно достигнуто использованием сдвоенной платы. Другими словами, это две платы, расположенные одна поверх другой. Их суммарная площадь составляет 135% площади платы iPhone 8 Plus. Такая компоновка позволила высвободить место для модуля Taptic Engine и камеры TrueDepth.
Что касается ремонтопригодности, смартфон заработал шесть баллов из десяти возможных — как и iPhone 8.
Как известно, iPhone X — первый смартфон Apple с экраном AMOLED. Этот факт по-разному оценивают как поклонники марки Apple, так и ее ненавистники. Масла в огонь подлило предупреждение Apple, что дисплей смартфона iPhone X может «выгорать».
Производитель заверил, что дисплей, который Apple называет Super Retina, «является лучшим в отрасли». В частности, при его создании были приняты меры, максимально уменьшающие «выгорание», свойственное органическим дисплеям. Однако определенные сценарии использования, включающие длительную демонстрацию высококонтрастного статичного изображения, все же способны сократить срок службы экрана. В качестве профилактических мер Apple рекомендует полагаться на автоматическое управление уровнем яркости, установить небольшое время до автоматической блокировки и регулярно обновлять программное обеспечение смартфона.

Дисплеи для Apple iPhone X выпускает компания Samsung, давно использующая подобные дисплеи в своих смартфонах. Субпиксели основных цветов в этих дисплеях образуют характерную схему, получившую название Diamond Pixel. Она сменила схему PenTile в 2013 году и с тех пор используется во всех новых смартфонах Samsung с экранами AMOLED.
Как оказалось, экран Apple iPhone X отличается от экранов Samsung Galaxy формой субпикселей. На иллюстрации увеличенный фрагмент экрана Apple iPhone X показан слева, экрана Samsung Galaxy — справа.
Как утверждается, изменив форму субпикселей, их удалось разместить немного плотнее друг к другу.
Помимо экрана, iPhone X выделяется на фоне других смартфонов Apple ценой. В территории США он стоит примерно 1000 и 1150 долларов в конфигурациях с 64 и 256 ГБ флэш-памяти соответственно. Это не помешало генеральному директору Apple Тиму Куку (Tim Cook) сравнить стоимость iPhone X с расходами кофе.
По словам Кука, новинку Apple может позволить себе любой желающий, отказавшись от нескольких кружек кофе в неделю.
«Важно не забывать, что огромное количество пользователей платят за смартфоны ежемесячно, — сказал Кук. — В итоге вы можете быть владельцем iPhone всего за 33 доллара в месяц. Это меньше, чем по чашке кофе в день в хорошем кафе».
Следует пояснить, что в США многие покупают смартфоны у операторов сотовых сетей с ежемесячной выплатой в период действия контракта на услуги. Так, AT&T предлагает базовую версию iPhone X за 33,34 доллара в месяц при заключении контракта на 30 месяцев.

Из другой новости стало известно, что начало продаж беспроводной акустической системы Apple HomePod отложено. Представляя Apple HomePod, производитель обещал начать продажи устройства в декабре, но его планы изменились. В ноябре производитель опубликовал небольшое сообщение, суть которого сводится к тому, что начало продаж HomePod переносится на 2018 год.

Завершает посвященный Apple раздел новость «Найден анекдотично простой способ получить права администратора в Apple macOS».
Способ построен на использовании ошибки в ОС Apple macOS High Sierra. Эта ошибка позволяет любому получить права администратора (пользователя root), не вводя пароль. Для этого достаточно ввести слово root в поле имени пользователя, оставить поле для ввода пароля незаполненным и несколько раз нажать клавишу ввода или щелкнуть мышью по экранной кнопке Login.

Производитель оперативно выпустил обновление, устраняющее уязвимость. Впрочем, ее можно закрыть и самостоятельно, задав пароль для пользователя root с помощью командной строки.
Значительное число новостей ноября было посвящено компании, являющейся основным конкурентом Apple на рынке мобильных устройств.
Samsung
Южнокорейский производитель готовится представить смартфоны Galaxy S9 и Galaxy S9+. Если верить одной из ноябрьских новостей, серийное производство Samsung Galaxy S9 начнется уже в декабре. Это означает, что характеристики обоих смартфонов окончательно утверждены.
В частности, по сведениям отраслевых источников, было решено отказаться от оптического дактилоскопического датчика, расположенного под поверхностью дисплея. Вместо него у Galaxy S9 и Galaxy S9+ будут обычные дактилоскопические датчики на задней панели. Дактилоскопический датчик, работающий сквозь дисплей, первой получит модель Galaxy Note9.

О производительности новых смартфонов Samsung позволили судить результаты в тесте Geekbench, появившиеся во второй половине месяца. Модель Samsung Galaxy S9 набрала 7787 баллов в многопоточном тесте и 2680 баллов — в однопоточном.

Аппарат под индексом SM-G960F построен на однокристальной системе Exynos 9810 и оснащен 4 ГБ оперативной памяти. Он работает под управлением операционной системы Android 8.0.
Не замедлило появиться и изображение смартфона Samsung Galaxy S9. Его опубликовал 20-летний студент из Риги Вениамин Гескин, не впервые выступающий в такой роли. Скажем, в прошлом году он первым «слил» чертежи и трехмерные модели смартфона Apple iPhone X. Уточним, что нынешнее изображение Samsung Galaxy S9 было создано на основе информации, уже имеющейся в Сети.

Кроме того, Гескин подтвердил, что устройство будет анонсировано на выставке CES, которая пройдет в январе 2018 года.
Буквально на следующий день появились новые изображения смартфона Samsung Galaxy S9. Их источником стал не менее известный инсайдер @UniverseIce, опубликовавший концепт-арты Samsung Galaxy S9 в красном варианте оформления.

Наряду с новыми смартфонами Samsung покажет на CES 2018 телевизоры с экранами micro-LED. В частности, в экспозицию южнокорейской компании войдет модель с экраном micro-LED размером 150 дюймов по диагонали. По предварительным данным, новые телевизоры поступят в продажу до конца 2018 года.

Внедрению micro-LED пока препятствуют технологические сложности, но в середине октября стало известно, что компания Samsung Electronics решила ускорить разработку технологии, рассчитывая с ее помощью укрепить позиции на рынке телевизоров.
Еще одно перспективное направление разработок, которые ведет Samsung, связано с возобновляемыми источниками питания. В конце ноября было опубликовано сообщение о том, что Samsung разрабатывает графеновый аккумулятор.
Аккумулятор, созданный специалистами института передовых технологий Samsung (Samsung Advanced Institute of Technology), превосходит доступные на рынке на 45% по энергетической плотности и в пять раз — по скорости зарядки. Он сохраняет работоспособность при температурах до 60 °С, так что походит для электромобилей. На разработку уже поданы заявки на патенты в США и Южной Корее.

Последним в подборке традиционно является раздел
Прочее
Судя по статистике, большой интерес читателей вызвала новость о том, что Intel представила мобильные процессоры Core H с графическим ядром AMD и памятью HBM2.
Указанные процессоры относятся к восьмому поколению Core. Уточним, что CPU, GPU и память будут изготовлены раздельно, а потом их кристаллы объединены на промежуточной плате и упакованы в один корпус. Известно, что GPU и память будут связаны интерфейсом Embedded Multi-Die Interconnect Bridge (EMIB). К сожалению, технические характеристики процессоров пока не опубликованы. По словам Intel, новые процессоры позволят создавать тонкие и производительные ноутбуки, которые подойдут для работы, игр и приложений виртуальной реальности.

Процессор Centriq 2400, о начале поставок которого в ноябре объявила компания Qualcomm, предназначен для другой области применения. По словам производителя, Centriq 2400 — первый 10-нанометровый серверный процессор, доступный на рынке. Производственным партнером Qualcomm выступает компания Samsung.
На кристалле Centriq 2400 площадью 398 мм² находится 18 млрд транзисторов. Конфигурация процессора включает 48 ядер на архитектуре ARM, работающих на частоте до 2,6 ГГц и связанных между собой высокоскоростным интерфейсом с пропускной способностью 250 Гбит/с. В распоряжении ядер находится 24 МБ кэш-памяти второго уровня и 60 МБ кэш-памяти третьего уровня, шестиканальный контроллер DDR4 и 32 линии PCIe. Centriq 2400 поддерживает безопасную операционную среду ARM TrustZone и гипервизоры для виртуализации. Потребляемая мощность процессора не превышает 120 Вт, а стоит он 1995 долларов.

Активное обсуждение вызвало сообщение о том, что компания Intel подтвердила наличие уязвимости в огромном количестве процессоров из разных сегментов.
Первоначально считалось, что критическая уязвимость, которая позволяет злоумышленнику взять ПК под контроль, есть в подсистеме Intel Management Engine (ME) процессоров поколения Skylake и новее. Однако проверка, выполненная производителем, показала, что слабое место есть в ME версий 11.0/11.5/11.6/11.7/11.10/11.20, а также в Server Platform Services (SPS) 4.0 и Intel Trusted Execution Engine (TXE) 3.0. Другими словами, проблема касается процессоров Skylake, Kaby Lake, Kaby Lake Refresh и Coffee Lake, Xeon Processor E3-1200 v5 и v6, Xeon Processor Scalable и Xeon Processor W, Atom C3000, Apollo Lake (E3900), Apollo Lake Pentium, а также Celeron N и J. Для устранения уязвимости производители системных плат и готовых систем должны выпустить программные обновления.

Нередко наиболее читаемой или обсуждаемой новостью дня оказывается публикация, не относящаяся напрямую к отрасли информационных технологий. Скажем, новость о том, что Китай намерен создать космический корабль с ядерным двигателем.
Это предусмотрено планом, который опубликовала китайская компания China Aerospace Science and Technology Corporation (CASC), являющаяся основным подрядчиком государственной космической программы Китая.
Сроком реализации соответствующего пункта плана указан 2040 год. Какие-либо подробности о проекте пока отсутствуют, возможно, потому что и сам проект пока только заявлен в плане.
Помимо пункта, перекликающегося с идеями фантастов прошлого, в плане значится создание ракеты-носителя семейства Long March, которая сможет выводить в космос около 100 тонн полезной нагрузки. Это существенно больше возможностей не только самой мощной из сегодняшних ракет, но и ракеты Space Launch System (SLS), первый запуск которой намечен на следующий год. Ожидается, что SLS сможет доставлять на низкую орбиту до 77 тонн. Правда после модернизации ее грузоподъемность должна увеличиться до 115 тонн, но произойдет ли это до появления Long March или после — пока неизвестно. Эксплуатация китайская ракеты должна начаться в 2030 году.

Тем временем компания Boston Dynamics продолжает совершенствовать человекоподобного робота Atlas. В очередном видеоролике, опубликованном разработчиками, показано, как робот Boston Dynamics Atlas делает сальто назад.

Глядя, как ловко Atlas проделывает это упражнение, а кроме того — запрыгивает на препятствия, трудно поверить, что всего лишь год назад ему с трудом удавалось удерживать равновесие на одной ноге.
Эта новость завершает ноябрьский дайджест наиболее значимых и интересных новостей. С обзором публикаций, которыми отметится последний месяц года, можно будет ознакомиться примерно через месяц.