В этом обзоре мы рассмотрим "KVM over IP" переключатель Raritan KX101, который позволяет производить удаленное подключение к компьютеру по протоколу IP даже в случае, если на нем не загружается ОС.
Тому, что такое KVM over IP переключатели и по какому принципу они работают, был посвящен один из прошлых обзоров.
Данное устройство имеет всего лишь одну KVM-консоль, поэтому его можно подключить либо напрямую к контролируемому компьютеру - в таком случае мы сможем управлять только одним компьютером, или же к "обычному" KVM-свитчу, который позволяет производить переключение между своими KVM-консолями с помощью клавиатуры — в этом случае количество компьютеров, которыми мы можем управлять, значительно расширяется (зависит от подключенного KVM-свитча). Устройство Raritan KX101 также поддерживает возможность питания по Ethernet-проводу PoE (Power over Ethernet).
Устройство можно подключать без переходника только к D-Sub видеоразъему (стандартный аналоговый выход — VGA разъем HD15). Зато мышь и клавиатура могут быть подключены либо через PS/2 разъемы, либо через USB (при этом и мышь и клавиатура используют только 1 USB-порт).
Вид спереди:
На передней панели устройства находится индикатор питания/активности устройства.
На боковой панели расположены:
- Разъем для подключения питания, 6В
- Индикатор активности LAN-порта
- LAN-порт
На другой боковой панели находятся:
- Консольный порт для подключения администратора и выполнения первоначальных настроек
- KVM-разъем (обрезан на рисунке)
Вид изнутри:
Из микросхем на устройстве можно обнаружить:
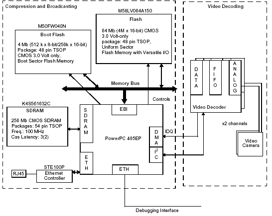
IBM PowerPC 405EP процессор, работающий на частоте 266 МГц, память Samsung SDRAM K4S561632E, USB-контроллер Philips ISP1181B. Эти чипы расположены на отдельной mini-PCI плате, закрепленной на основной плате устройства. Принципиальная блок-схема работы процессора PowerPC 405EP с другими компонентами, приведена на рисунке ниже:

Видеозахват осуществляется с помощью преобразователя RGB-сигнала ANALOG DEVICES AD9888.
Ethernet — интерфейс выполнен на базе контроллера Intel LX972.
Спецификация
- Корпус: металлический
- Консольный порт: RJ-11
- Сетевой порт: RJ-45 10/100 с автоопределением полярности
- Поддержка PoE: да
- Поддержка аутентификации через LDAP или RADIUS
- Максимальное разрешение: 1600 × 1200
- Размеры: 73.4 × 102.54 × 27 мм
- Масса: 0,278 кг
- Версия прошивки: 4.30.5.5
Комплект поставки
- Сам KVMoIP переключатель
- Кабель с двумя PS/2-разъемами
- Кабель с USB-разъемом
- Адаптер питания 6В
- Переходник для подключения кабеля с разъемом RJ-11 к COM-порту RS-232
- Кабель RJ-11 — RJ-11 для подключения к консольному порту
- CD с документацией и руководством по быстрой установке и настройке на английском языке
- Печатное руководство по быстрой установке и настройке на английском языке
- Приспособление для монтажа в стойку (подробнее о нем написано в руководстве — в данном обзоре оно не рассматривается)
Конфигурация
Первоначальная конфигурация устройства осуществляется через консольный порт — здесь задаются только базовые настройки устройства: дата, время, IP-адрес, порт TCP, через которые подключаются клиенты (по умолчанию 5000). Через него также производится "сброс" системы в случае утери пароля. Для этого необходимо при подключении через консольный порт указать логин "admin" и пароль "R*E*S*E*T" (без кавычек).
Остальная настройка и само подключение осуществляется либо через WEB-интерфейс, либо с помощью специальных утилит, которые можно скачать с сайта компании Raritan. Есть Windows-утилиты и мультиплатформенные Java-программы (для их запуска требуется наличие на компьютере клиента Java VM). Эти утилиты практически полностью дублируют WEB-интерфейс устройства — разница только в том, что если подключение производится через WEB-интерфейс, то утилита сначала будет загружена на компьютер пользователя, что может занять некоторое время. При использовании Internet Explorer, утилита загрузится как activeX компонент, иначе — пытается загрузиться приложение Java.
Как я не пытался — JAVA-клиент, загруженный с устройства, запустить не получилось. Причину, по которой он не работал, выяснить также не удалось. При загрузке из ОС Windows через браузер Opera — выдается сообщение "Applet crashed". При этом кроссплатформенный клиент, скачанный с сайта Raritan, под ОС Windows работал без вышеупомянутых проблем.
К устройству может быть одновременно подключено несколько пользователей, причем, у пользователей могут стоять различные разрешения. Например, один пользователь может что-то делать, а второй — только смотреть, что делает первый. Возможно и так, что оба пользователя будут иметь возможность управления — в этом случае они могут сильно мешать друг другу ("перетягивая указатель мышки" и набирая одновременно что-либо на клавиатуре), либо наоборот работать по очереди на одной консоли.
Есть также возможность масштабирования экрана (возможно как увеличение, так и уменьшение). На удаленный компьютер передаются все комбинации клавиш за исключением Ctrl-Alt-Del (для нее существует специальная кнопка на панели инструментов и пункт меню) и Ctrl-Alm-M — доступ к управлению самим устройством. Устройство позволяет "забить" некоторые комбинации клавиш в макросы.
Итак, рассмотрим настройки устройства более подробно.
Список настроек, которыми можно управлять через консольный порт
Список пунктов "Network Configuration" — тут задается IP-адрес устройства, а также отключается WEB-интерфейс и меняется порт, который используется для передачи KVM-данных
Здесь устанавливается дата-время-часовой пояс. Также возможно задание SNTP-сервера для синхронизации времени.
Здесь можно изменить пароль учетной записи "admin"
Здесь можно произвести сброс настроек
Здесь можно перезагрузить устройство или его выключить (зачем его выключать я не очень понял, но, видимо, это что-то наподобие "безопасного завершения работы")

Здесь можно производить диагностику неисправностей
Теперь перейдем к настройкам, которые можно задать через WEB-интерфейс устройства.
Мы можем вручную задать скорость линии, а также выбрать качество цветопередачи. Естественно, чем ниже качество — тем быстрее происходит передача картинки — на низкоскоростных линиях это наиболее заметно.
Также возможно задание других параметров цветопередачи.
Так передается изображение при 15-битной цветопередаче
Консоль диагностики также доступна и через программу удаленного клиента
Так выглядит интерфейс администрирования — в нем возможно задание дополнительных настроек (например, создание других пользователей и групп и назначение им прав, возможность аутентификации через RADIUS-сервер или LDAP-сервер)
Окно создания новой группы, при этом задаются имя и права группы
Возможно создание Access Control List (лист контроля доступа) — в нем задаются диапазоны IP-адресов, которым разрешен и которым запрещен доступ к устройству
Последние 3 скриншота отражают создание группы "ABC" — теперь мы можем наблюдать ее в списке групп пользователей
При создании пользователя выбирается группа, в которой он будет состоять.
Пользователь "KRUGER" появился в группе "ABC"
Здесь задаются параметры безопасности
Как я уже говорил выше, возможна аутентификация через RADIUS или LDAP-сервер — здесь задаются эти параметры.
Здесь задаются параметры сетевого подключения
Задание даты/времени
Также возможно задание предельной ширины полосы пропускания как суммарной для всех подключенных пользователей, так и для отдельных пользователей
Тестирование
При тестировании рассматривается скорость работы при уменьшении ширины канала.
Если ранее об объективности подобного рода тестов говорить не приходилось — высказывалось только субъективное мнение, то сейчас было принято решение, использовать ПО, которое способно записывать в видеофайл какую-либо область экрана или даже весь экран целиком. Кто может объективнее оценить производительность, как не конечный пользователь? На мой взгляд, никто.
Но и тут не обошлось без трудностей. Подобные программы требуют очень много ресурсов процессора, из-за того, что они "на лету" кодируют видеоинформацию. По этой причине "фокус" с сохранением в видеофайл всего экрана не удался, так как удаленный клиент начинал тормозить от недостатка ресурсов процессора, а не от ограниченности пропускной способности канала. В итоге было принято решение сохранить лишь небольшую часть экрана и совершать в ней разнообразные движения — в данном случае я двигал окошко программы "Блокнот".
Стоит учесть, что чем больше площадь перемещаемого окна — тем больше требуется пропускной способности канала для быстрой перерисовки — следовательно, если площадь окошка будет в 2 раза больше, то и времени на его перерисовку при текущей скорости канала потребуется в 2 раза больше.
Конфигурация клиентского компьютера:
- Процессор: Athlon XP 2000+
- ОС: Windows XP Pro Rus SP2
- Память: 768 Мб DDR 266
- Глубина цвета: 15 бит (максимально возможное значение)
При написании текста, задержки ощущались лишь на скорости 16 кбит/с. Уже на скорости 32 кбит/с — задержки были практически не заметны. Максимально возможную скорость работы можно получить при скорости соединения от 10 Мбит/с и выше (то есть при скорости свыше 10 Мбит/с скорость соединения перестает влиять на скорость перерисовки экрана)… и лишь при просмотре видеофайлов может потребоваться более высокая пропускная способность (хотя устройство не предназначено для таких целей как просмотр видео).
Судя по моим наблюдениям, устройство передает только изменения изображения на экране, а не всю картинку целиком.
Канал 24 кбит/с: (видео ~200кб) Даже небольшие окна перемещаются с ощутимыми задержками. Что уж говорить, если приходится перерисовывать весь экран.
Канал 33 Кбит/с: (видео ~225кб ) Перерисовка по-прежнему происходит достаточно медленно. При перемещении окон начинает тормозить даже указатель мыши — это видно в видеофайле.
Канал 56 Кбит/с: (видео ~232кб ) Снова наблюдается ощутимая задержка перерисовки. Разница по сравнению с предыдущими тестами только в том, что прорисовка происходит несколько быстрее.
Канал 128 Кбит/с: (видео ~290кб ) При перемещении небольших окон, можно наблюдать их перерисовку в промежуточных положениях.
Канал 256 Кбит/с: (видео ~370кб) Задержки перерисовки уже весьма незначительные, но это только на окнах небольшого размера. Перерисовка всего экрана отнимет существенную часть времени.
Канал 512 Кбит/с: (видео ~480кб) Перерисовка происходит уже достаточно быстро.
Канал 1 Мбит/с: (видео ~700кб)
На таком канале уже можно беспроблемно работать с окнами любого размера. Для передачи видео такой скорости, конечно, будет маловато, но устройство для этого и не предназначено.
Для примера привожу видео (~500кб) — запись работы устройства на 100 Мбит/с — для того, чтобы можно было хоть примерно представить максимально возможную скорость работы устройства — достаточно отчетливо видно, что даже на такой скорости есть некоторая задержка перерисовки окон — то есть полностью избежать задержек (так, чтобы внешне работа не отличалась от работы за локальной консолью компьютера) все равно не получится.
Безопасность
Так как устройство может работать в незащищенных сетях, были проведены тесты на безопасность (как для маршрутизаторов).
Результаты Nessus'а:
Nessus не находит ни одной критической уязвимости, видимо, разработчики уделили особое внимание вопросам безопасности.
Выводы
Приведенные тесты отражают только картину "комфортности" работы с устройством — на практике с устройством можно работать и на более медленных каналах. Основное преимущество подобного рода устройств в том, что они позволяют работать с компьютером даже в случае, если на компьютере не загружается ОС (например, можно зайти в BIOS или в меню настройки контроллера RAID). Но в ином случае все же лучше использовать встроенные возможности ОС (например, "Удаленный рабочий стол" или SSH). При этом устройства такого типа могут работать через независимую от сервера сеть (то есть сервер работает в одной сети, а устройство — в другой).
Плюсы:
- Высокая безопасность устройства
- Кроссплатформенность, обеспеченная использованием JAVA
- Возможность изменения битности передаваемого изображения
- Возможность задания различных прав доступа к устройству различным пользователям/группам
- Поддержка PoE (Power over Ethernet)
- Возможность использования LDAP или RADIUS сервера для аутентификации.
- Возможность ручного задания скорости
Минусы:
- Не удалось запустить скачанный с устройства JAVA-плагин
- Отсутствие документации на русском языке
- Отсутствие на диске автономных клиентов — их приходится скачивать с сайта компании Raritan




























